Product Summary
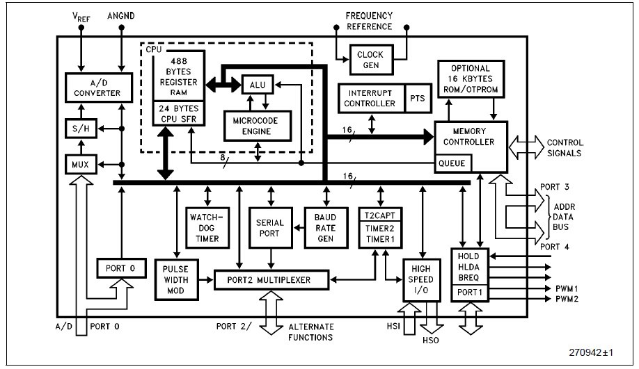
The EE80C196KC20 is a 16-bit microcontroller. The EE80C196KC20 is an enhanced 80C196KB device with 488 bytes RAM, 16 and 20 MHz operation and an optional 16 Kbytes of ROM/OTPR OM. Intel CHMOS III process provides a high performance processor along with low power consumption. In this document, the EE80C196KC20 will refer to all products unless otherwise stated. Four high-speed capture inputs are provided to record times when events occur. Six high-speed outputs are available for pulse or waveform generation. The high-speed output can also generate four software timers or start an A/D conversion. Events can be based on the timer or up/down counter.
Parametrics
EE80C196KC20 absolute maximum ratings: (1)Ambient Temperature Under Bias: -55℃ to +125℃; (2)Storage Temperature: -65℃ to +150℃; (3)Voltage On Any Pin to VSS: -0.5V to +7.0V; (4)Voltage from EA or VPP to VSS or ANGND: +13.00V; (5)Power Dissipation: 1.5W.
Features
EE80C196KC20 features: (1)16 and 20 MHz Available; (2)488 Byte Register RAM; (3)Register-to-Register Architecture; (4)28 Interrupt Sources/16 Vectors; (5)Peripheral Transaction Server; (6)1.4 ms 16 x 16 Multiply (20 MHz); (7)2.4 ms 32/16 Divide (20 MHz); (8)Powerdown and Idle Modes; (9)Five 8-Bit I/O Ports; (10)16-Bit Watchdog Timer; (11)Extended Temperature Available.
Diagrams

| Image | Part No | Mfg | Description | ![]() |
Pricing (USD) |
Quantity | ||||||
|---|---|---|---|---|---|---|---|---|---|---|---|---|
![]() |
![]() EE80C196KC20 |
![]() |
![]() IC MPU 16BIT 5V 20MHZ 68PLCC |
![]() Data Sheet |
![]() Negotiable |
|
||||||
| Image | Part No | Mfg | Description | ![]() |
Pricing (USD) |
Quantity | ||||||
![]() |
![]() EE80251B1-0000-A99 |
![]() Sunon Fans |
![]() FAN BRUSHLESS 12VDC 80X80X25MM |
![]() Data Sheet |
![]()
|
|
||||||
![]() |
![]() EE80251B1-000U-A99 |
![]() |
![]() FAN BRUSHLESS 12VDC 80X80X25MM |
![]() Data Sheet |
![]()
|
|
||||||
![]() |
![]() EE80251B2-0000-999 |
![]() Sunon Fans |
![]() FAN BRUSHLESS 12VDC 80X80X25MM |
![]() Data Sheet |
![]()
|
|
||||||
![]() |
![]() EE80251B2-000U-999 |
![]() |
![]() FAN BRUSHLESS 12VDC 80X80X25MM |
![]() Data Sheet |
![]()
|
|
||||||
![]() |
![]() EE80251B3-0000-999 |
![]() Sunon Fans |
![]() FAN BRUSHLESS 12VDC 80X80X25MM |
![]() Data Sheet |
![]()
|
|
||||||
![]() |
![]() EE80251B3-000U-999 |
![]() |
![]() FAN BRUSHLESS 12VDC 80X80X25MM |
![]() Data Sheet |
![]()
|
|
||||||
(China (Mainland))










