Product Summary
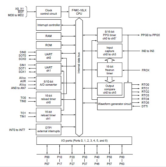
The MB90F568PFM-GE1 is a general-purpose 16-bit microcontroller designed for industrial, OA, and process control applications that require high-speed real-time processing. The MB90F568PFM-GE1 features a multi-function timer able to output a programmable waveform. The MB90F568PFM-GE1 instruction set is based on the same AT architecture as the F2MC-8L and F2MC-16L families with additional instructions for high-level languages, extended addressing modes, enhanced signed multiplication and division instructions, and a complete range of bit manipulation instructions. The MB90F568PFM-GE1 has a 32-bit accumulator for processing long word (32-bit) data.
Parametrics
MB90F568PFM-GE1 absolute maximum ratings: (1)Input voltage VI: VSS - 0.3 VSS + 4.0 V ; (2)Output voltage VO: VSS - 0.3 VSS + 4.0 V; (3)L level maximum output current: 15 mA; (4)L level average output current: 4 mA; (5)L level total maximum output current: 100 mA; (6)L level total average output current: 50 mA; (7): level maximum output current: -15 mA; (8)H level average output current: -4 mA; (9)H level total maximum output current: -100 mA; (10)H level total average output current: -50 mA; (11)Power consumption Pd: 300 mW; (12)Operating temperature TA: -40 +85 ℃; (13)Storage temperature Tstg: -55 +150 ℃.
Features
MB90F568PFM-GE1 features: (1)Internal oscillator circuit and PLL clock multiplication circuit; (2)Oscillation clock; (3)Minimum instruction execution time : 62.5 ns (for oscillation = 4 MHz, PLL clock setting = 4, VCC = 5.0 V); (4)Maximum CPU memory space : 16 MB.
Diagrams

![]() |
![]() MB90050 |
![]() Other |
![]() |
![]() Data Sheet |
![]() Negotiable |
|
||||
![]() |
![]() MB90091A |
![]() Other |
![]() |
![]() Data Sheet |
![]() Negotiable |
|
||||
![]() |
![]() MB90092 |
![]() Other |
![]() |
![]() Data Sheet |
![]() Negotiable |
|
||||
![]() |
![]() MB90096 |
![]() Other |
![]() |
![]() Data Sheet |
![]() Negotiable |
|
||||
![]() |
![]() MB90097 |
![]() Other |
![]() |
![]() Data Sheet |
![]() Negotiable |
|
||||
![]() |
![]() MB90098A |
![]() Other |
![]() |
![]() Data Sheet |
![]() Negotiable |
|
||||
(China (Mainland))








